别烧床垫啊汪小菲!烧不着,会丢人
汪小菲炸了。他声称要把自己买的床垫烧了,因为难以想象前妻大S和别人睡在上面。
老实说,我们并不是情感专家,无法在情绪上给予汪先生安抚。不过我们从自己更熟悉的角度,想给汪先生一个建议:
千万别烧床垫!真的烧不着,到时候挺没面子的。
不过,这条微博现在已经删了,床垫最后也被回收走了|新浪微博:@汪小菲
床垫很难烧
在遥远的2018年,我国国标《软体家具床垫燃烧性能的评价》(GB/T 34441-2017)规定,为了保证火灾时人有足够的逃生时间,床垫在点燃30分钟内,热释放率峰值不能超过200千瓦,点燃10分钟内释放总热量不能超过15兆焦。
用人话说就是:合格的床垫是不太能烧起来的。
想必汪先生买的,应该是合格的床垫。
烧床垫可没那么容易,火源一移开,火势就变小了(下图)|Rhombus Industrial Co,.Ltd.
可要是谁也拦不住汪先生,他非得烧床垫,会发生什么呢?2016年,消防队和材料科学家已经做过实验了。
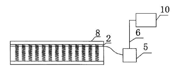
研究者搞了两张床垫:一张是海绵的普通床垫,另一张是阻燃床垫。
接着他们举起丙烷燃烧器,对着床垫的上方和侧方同时点火,上方烧70秒,侧面烧50秒。
在烧完拿开燃烧器后,普通床垫的火势不断蔓延,并在点火7分10秒时迅速扩大,热释放速率最高达到600千瓦(就是很大的意思,这个床垫现在已经不符合新的燃烧标准了),烟气温度最高达160℃!
图|参考文献[1]
而且,燃烧现场采集的数据显示,一氧化碳体积分数为0.04%,二氧化碳体积分数1.5%。虽然致死的可能性不大,但也足够让人难受了。
如果汪先生节俭持家,在电费上省钱的同时也在床垫上省钱,买的是这种海绵床垫,那么他烧床垫会非常危险!
再看带有阻燃buff的床垫。在移开燃烧器后,床垫上的火焰很快就熄灭了,没有持续燃烧;烟气温度很快降低到接近室温的温度;一氧化碳、二氧化碳的数值也很低。
图|参考文献[1]
假设汪先生用的是这样的床垫,烧起来就比较安全啦!问题就是比较难烧着,得用火一直对着喷才能保持火势。万一烧着烧着,自己不气了,或者网友们没兴趣都走开了,你说这是继续烧呢,还是算了呢?
对床垫宣泄怒气的建议
你看,能付之一炬的床垫,烧起来很危险(还可能被警察抓),而烧起来比较安全的床垫,你又很难把它烧干净。
我们尊重汪先生对床垫的怒意,因此推荐用以下方法对付床垫。
拆了它!
比起火魔法攻击,纯物理的拆解可能更靠谱。
汪先生可以找找上门回收的公司,花钱请工作人员把几千万的床垫拉走。(现实情况下,这的确是床垫的最终下场。)
今天傍晚,床垫已经被拆解运走|三立新闻网
在回收中心,整个床垫会被拆解成可利用的资源:
海绵泡沫可以再利用,做成地板衬垫、隔音材料、汽车脚垫,也可以用作运输物品时候的缓冲层,也可以再生,化工巨头企业巴斯夫近年来,开发出把床垫中的一种海绵还原原料的方法,省下了很多制造海绵所需要的化石原料[4];
如果买的是乳胶床垫,这些乳胶制品也可以回收再造,制成乳胶再生胶,可以替代天然橡胶,对节省橡胶原料大有裨益;
弹簧要是没坏的话,直接拿去用,要是坏了可以熔融再利用——早在1997年,世界弹簧钢消费量中,就有37%来自再生弹簧钢[5]。
不过,床垫的回收利用现在还不太成熟,要是汪先生能为了解决床垫关注投资一下床垫回收行业,也不失为一桩美谈|图虫创意
别说直接烧掉还会增加碳排放,床垫本身这么好的东西,你烧了它干啥啊!
卖二手!
几千万的床垫,让人拉走扔了还要倒给对方钱,别说汪先生了,我们也很心疼。
所以还是出二手货吧!
一些生产床垫的厂家有回收服务,或者以旧换新、送回旧物送折扣券等等活动,这也是为了回收旧床垫的资源。
再用用?
我们在搜索“床垫再利用”的时候,还看到这么一个专利,仔细想想也是适合汪先生的新思路:给床垫安上花洒软管,通过冷凝水给床垫局部降温。这样,夏天空调至少可以开高一度,既再利用了床垫,也节省了电费。
一种再利用床垫的新思路|《一种新型充水及冷凝水再利用弹簧床垫》专利号:CN205696791U
当然,也有不那么麻烦的办法:有个瑞典的顶级床垫品牌,他们了解到有顾客70年前买了他们的产品,就想把床垫要回来,放进博物馆里[3]。
虽然现在说已经来不及,毕竟床垫已经被回收人员拉走了……但汪先生本来是不是也可以考虑一下,干脆别摧毁这个几千万的床垫了,直接再睡个几十年,留下一些文物?
烧了烧不掉,也怪难看的|图虫创意
总之,希望汪先生还是不要对床垫放火,对床垫、对自己、对环境都不好。
作者:代天医,李小葵
编辑:李小葵,麦麦



![图|参考文献[1]](https://x0.ifengimg.com/res/2022/A410AAD0F707E841F942411D75F8DA4673B9689E_size162_w421_h625.png)
![图|参考文献[1]](https://x0.ifengimg.com/res/2022/FE74B339775F71813513CC9002B039AAC058D880_size148_w431_h632.png)





















